
国内32款新冠抗原检测产品获批 多家上市公司披露产品产销进度
来源:新京报 作者:《每日财讯网》编辑 发布时间:2022-12-05
投资者互动平台上,投资者对涉及新冠抗原检测业务的上市公司较为关注。
近期,随着新冠抗原检测需求有所增加,资本市场中,投资者对于相关企业的关注度亦有所升高。
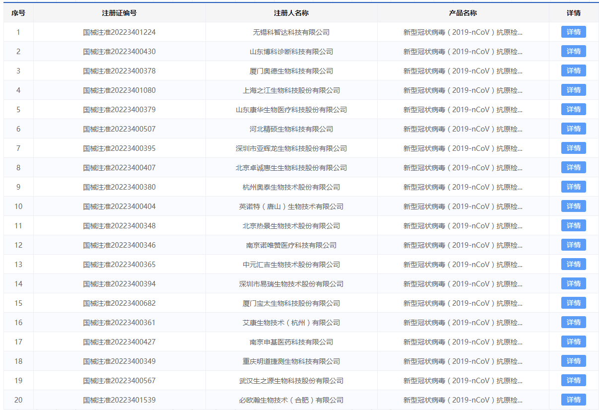
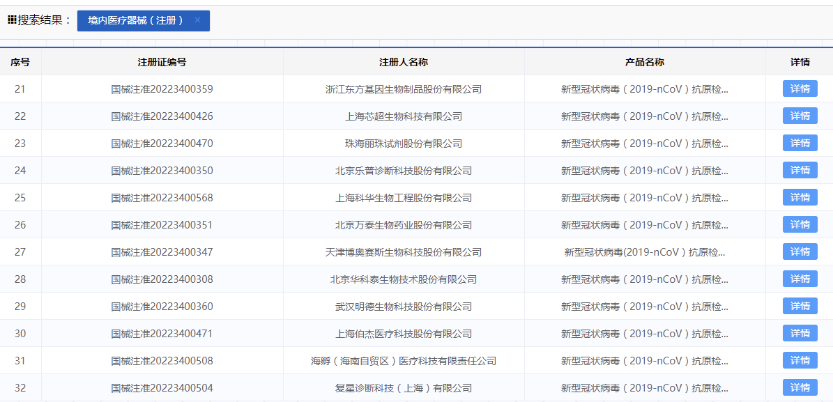
据了解,目前国内获批的新冠抗原检测产品共32款,涉及14家上市公司。在投资者的密集询问之下,多家涉及该项业务的公司针对自身新冠抗原检测业务的进展发声。
今年前三季度,部分上市公司业绩受到新冠抗原检测产品的销售增加的促进。也有尚未布局国内市场的公司正在加速推进产品在国内的获批上市。
国内32款产品获批 涉及14家上市公司
新京报贝壳财经在国家药品监督管理局官网检索发现,目前拥有“新冠抗原检测试剂盒”医疗器械注册证的产品有32种,包含胶体金、乳胶及免疫层析三种方法,据不完全统计,其中涉及之江生物、亚辉龙、热景生物、诺唯赞、丽珠集团等14家上市公司。


国家药品监督管理局官网显示,目前国内有32款新冠抗原检测试剂盒产品获批。
其中,奥泰生物新冠抗原检测产品在公司营收中的占比较大,其2021年度业绩说明会上,公司管理层曾经表示,今年第一季度,其新冠抗原检测产品营收占比在95%左右,大概出厂价在1-2美元左右,视市场和客户订单数量多少而定。目前公司新冠抗原产品国内国外都在陆续接单中。
截至上半年末,其在研产品中仍包括“新型冠状病毒抗原唾液一体化试剂”和“新型冠状病毒抗原检测试剂改进”两项目,目前前者已经完成立项和可行性研究,后者正在进行临床研究和相关注册。
而之江生物、丽珠集团相关产品亦于今年在国内获批,开始贡献收入。11月14日,丽珠集团在接受投资者调研和现场参观时表示,公司的新冠抗原检测试剂盒(乳胶法)已于今年四月获批上市,助力疫情防控的同时,也有望为公司发展贡献新的增量,从前三季度看,该抗原检测试剂盒已有一定销售收入。
8月22日晚间,之江生物发布公告表示,新型冠状病毒(2019-nCoV)抗原检测试剂盒(胶体金法)获得国家三类医疗器械注册证。公司在新冠核酸检测产品的基础上,增加了新冠抗原检测试剂。11月22日,之江生物在互动平台表示,公司产品目前主要销往专业机构或政府部门,针对国内居民需求公司正在筹备线上对于C端的直接销售。
上证e互动平台上,针对投资者咨询的购买渠道,万泰生物表示,公司的新冠抗原检测试剂盒可在京东、淘宝、药店等渠道购买。如需大量采购,可直接向公司咨询。
新京报贝壳财经记者登录相关网购平台发现,上图中多个获批产品,目前在相关公司的官方旗舰店有销售,售价在2.3-3.95元/份不等。
多家上市公司披露抗原自检产品生产、销售进展
投资者互动平台上,投资者对涉及新冠抗原检测业务的上市公司较为关注,与相关公司互动频繁。
12月2日,互动易平台上,面对投资者针对公司是否具有抗原产品、相关产品销售情况等问题,美康生物表示,公司国内抗原检测产品处于临床试验阶段,产品的临床时间及审批时间具有不确定性。达威股份则回应称,公司投资的安徽文生有新冠抗原检测相关产品,目前销售情况良好。
11月24日,迈得医疗在上证e互动平台上回复投资者称,公司有新冠抗原试剂盒自动化包装线,目前尚未形成订单。12月2日,九州通亦在该平台上对投资者表示,2022年1月1日至2022年12月初,九州通抗原检测类产品含税销售收入为11.9亿元,公司已与明德生物、东方生物、华大基因、万泰生物、乐普诊断、热景生物、华科泰以及奥泰生物等厂家建立了战略合作关系,全渠道销售抗原检测产品,助力防控工作。
据了解,目前仍有安旭生物、基蛋生物等公司的新冠抗原检测产品尚未在国内获批上市。相关公司正在积极报批,拟布局国内市场。11月1日,安旭生物在e互动上对投资者表示,新冠抗原自测产品须先获得国内注册证书才可销售,目前公司已向国家药监局提交注册申请,正在积极推进相关工作。
责任编辑:《每日财讯网》编辑
上一篇:宜春锦江水质异常肉眼可见 锂云母提锂行业或掀环保调查风暴
下一篇:没有了!

〖免责申明〗本文仅代表作者个人观点,其图片及内容版权仅归原所有者所有。如对该内容主张权益请来函或邮件告之,本网将迅速采取措施,否则与之相关的纠纷本网不承担任何责任。