首页│
更多>
聚焦新闻
×
新闻 > 行情 > 行情

国足原主教练李铁被查 起底背后商业版图

来源:财联社  作者:《每日财讯网》编辑  发布时间:2022-11-28

摘要:  在卡塔尔世界杯开赛之际,今日上午,湖北省纪委监委通报:中国国家男子足球队原主教练李铁涉嫌严重违法,目前正接受中央纪委国家监委驻国家体育总局纪检监察组和湖北省监委监察调查。  公开信息显示,李铁出生...

  在卡塔尔世界杯开赛之际,今日上午,湖北省纪委监委通报:中国国家男子足球队原主教练李铁涉嫌严重违法,目前正接受中央纪委国家监委驻国家体育总局纪检监察组和湖北省监委监察调查。

  公开信息显示,李铁出生于1977年5月,16岁入选健力宝队留洋巴西,25岁参加了韩日世界杯并打满三场比赛。

  退役之后,先后担任广州恒大淘宝俱乐部队助理教练、中国男足国家队助理教练、华夏幸福俱乐部队主教练等,2020年1月出任中国国家男子足球队主教练,2021年12月卸任。

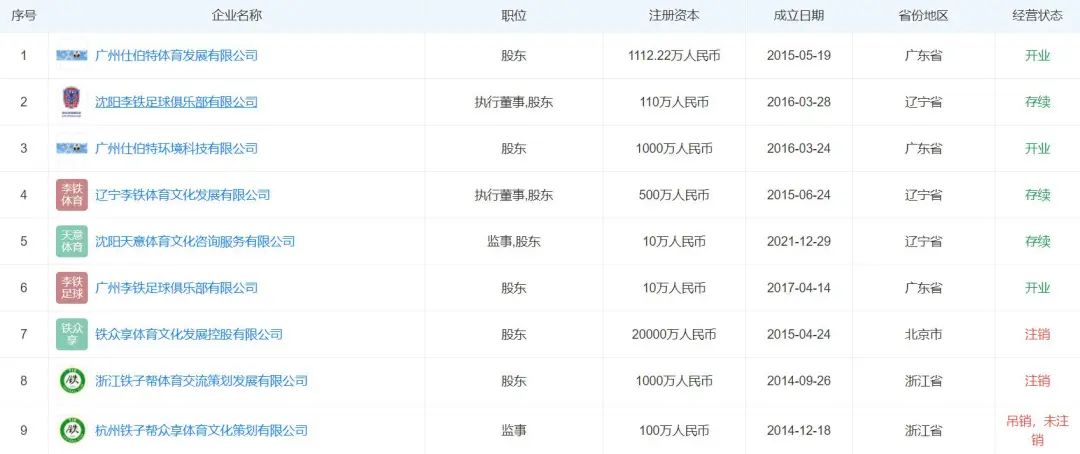
  关联9家企业,涵盖足球培训、场馆运营等

  作为中国国家男子足球队原主教练,李铁的商业版图与体育关联密切。

  天眼查显示,李铁共关联9家企业,其中6家为存续、开业状态,包括广州仕伯特体育发展有限公司、沈阳李铁足球俱乐部有限公司、广州仕伯特环境科技有限公司(曾用名为广州仕伯特体育设备有限公司)等,这些公司均与体育相关,涵盖足球培训、球员经纪与场馆运营等各个环节。

图片

  其中,沈阳天意体育文化咨询服务有限公司是最新成立的关联公司,于2021年12月成立,李铁在该公司持股比例高达90%。

  但从时间上看,李铁于2012年就开始布局自己的商业版图,率先成立了广州仕伯特体育发展有限公司,这家公司主营为幼儿足球教育,注册资本1112.2万元。在公司官网中,《科创板日报》记者看到,仕伯特对外宣称,李铁幼儿足球教育已涵盖全国15个省67个城市,累计覆盖1028所幼儿园,足球学员超过10万名。

  收费标准上,记者在爱仕伯的公众号上看到,今年9月招生时,活动营销的收费标准为1200元/16次课,而原价为1680元。除此之外,仕伯特也对外招加盟商, 在仕伯加的一份盟相关费用、条件及详情介绍中,明确表示基础资金是10-20万元,总计11万元的加盟费;商标许可费大约45000元,简装420元/㎡左右的装修设计费;总计18万的设备费;另有5千~1.11万左右的保证金。

  对此加盟费,《科创板日报》记者致电爱仕伯官网上的“400”电话,但该电话已成为空号。同时,爱仕伯的公众号在10月13日之后,就再无更新。而11月12日,李铁被带走调查的消息在网络上广泛流传。

  3000万年薪之下,还有3大代言

  最让外界关注的,是李铁高达千万元的年薪。

  据《足球报》调查,2018年和2019年李铁在武汉队执教期间,李铁个人年薪是1200万人民币,2020年转为“幕后操盘”后,年薪直达3000万人民币。当时,就有人指出,这与中国足协“不允许国字号教练在俱乐部队兼职”的规定相冲突。

  除了这份正职年薪,李铁还有代言收入。

  在李铁的微博中,与其有合作关系的品牌体育3个,分别是李宁、健力宝和雨林古树茶。2021年4月,李铁在微博中以9宫格的形式,为李宁做了一波宣传。2020年8月8日时,也为李宁30周年站了一回台。

图片

  在2017年,李铁就与李宁展开合作,为李宁的“铁系列”摇旗呐喊。目前,已合作5年之久。

  而健力宝,被大众记忆最深的就是2019年的沈阳李铁8号足球公园启动仪式上,李铁等原“健力宝球员”为150多名小球员上了一堂示范课。之后,李铁连续跟健力宝合作,举办与足球有关的主题活动。

  值得一提的是,沈阳李铁8号足球公园也是健力宝少年足球的北方训练基地。

  最后再来看雨林古树茶。在李铁成为代言人后,有网友发现,一包李铁限定版茶叶要卖到670元一包,重量是357克。不过,在李铁被换下国足主教练之后,仕伯特足球培训的收费已率先下调,雨林古树茶的电商平台上,已找不到“铁饼”茶的踪迹。至于李宁公司的终身合约,恐怕也将戛然而止。


责任编辑:《每日财讯网》编辑

上一篇:巴西、阿根廷、葡萄牙 世界杯冠军将花落谁家?看义乌商家用“销量”预测

下一篇:电视面板加速去产能 LG显示明年或减产四成 机构预测:后市已无降价空间

分享到:

〖免责申明〗本文仅代表作者个人观点,其图片及内容版权仅归原所有者所有。如对该内容主张权益请来函或邮件告之,本网将迅速采取措施,否则与之相关的纠纷本网不承担任何责任。

相关文章

评论框

请自觉遵守互联网相关的政策法规,严禁发布色情、暴力、反动的言论。
用户名: 密码:

 客服电话:010-57135130 传真:010-57135130 邮箱:mrcxnews@163.com

本站郑重声明:每日财讯网所发布的文章、数据仅供参考,本网不对信息的完整性、及时性负任何责任,投资有风险,选择需谨慎。

Copyright Up to 2022 mrcxnews.com All Rights Reserved. 《中华人民共和国增值电信业务经营许可证》编号:京B2-20171131号 【京ICP备16069224号  

关闭
关闭